馬鞍山市方威精密刃模有限公司 馬鞍山市方威精密刃模有限公司
  • 
  • 首頁
  • 金屬加工機械 +
  • 折彎機模具 +
  • 關於我們 +
    • 公司介紹
    • 新聞
  • 能力
  • 視頻
  • 聯繫我們
产品
  • 产品
  • 精密的折彎機模具
  • 壓平成型上下模具組合

壓平成型上下模具組合,阿瑪達折彎機模具

如果你沒有找到合適的模具,請留下您的聯繫方式,我們將安排工程師與您取得聯繫並提供技術方案,這將是免費的服務。

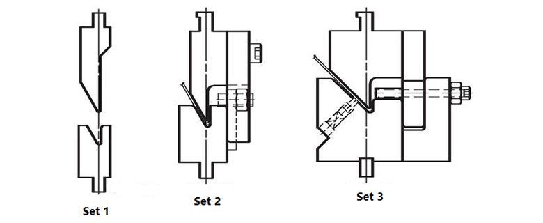
    組1是一款經濟型的折邊模具,可用於20號規格或者更輕的材料上形成開口褶邊(open hems),折邊的長度一般不超過2英寸。

    組2適用與對規格(gauge)高達16碳鋼材料進行折彎。

    組3適合在14規格或者更輕的材料上進行兩次操作,形成一個開口,目的是為了加強成型材中心翹起和捲曲的幅度。此套裝置僅限於折疊成 3/4"的褶邊或者小於3/4"的褶邊。

    詢價

    組4可用於18號規格或者更輕的材料上進行標準頂部後跟的成型。

    組5的設計是通過在模具組的頂部區域添加後裝置來成型14號鋼或更輕的材料

    組6是專門為消除板材翹起和減少由於操作人員失誤造成的成品損壞的情況。

    詢價

    組7與平整模具一起聯合使用下模可以形成一個直立的接縫,在兩次操作中。且這套模具成型後的板材中心可以形成銳角。這套模具可用於18號或者更輕的材料的成型。

    組8可以執行銳角偏移和閉合操作。

    詢價

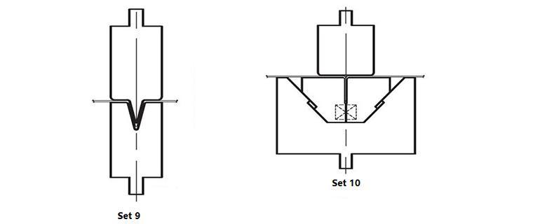
    當在板材的中心形成接縫時,需要對板材進行兩次操作,這時會將下模 set9和set10 搭配在一起使用。這些套裝具有很高的關閉匹配度,操作員在相同折彎機上就可執行兩個步驟。

    詢價
  • 相關產品
    1. 盒體成型上下模具組合
    2. 盒體成型上下模具組合
    1. 槽形成型模具
    2. 槽形成型模具
    1. 圓弧成型模具
    2. 圓弧成型模具
    1. 加強筋成型模具
    2. 加強筋成型模具
    1. 無壓痕成型模具
    2. 無壓痕成型模具
    1. 可調節V下模
    2. 可調節V下模
馬鞍山市方威精密刃模有限公司
聯繫我們,瞭解更多關於我們專為精確和高效而設計的折彎機模具的資訊。
金屬加工機械
單缸全電折彎機
單缸全電折彎機
雙缸全電折彎機
雙缸全電折彎機
電液伺服折彎機
電液伺服折彎機
油電混合折彎機
油電混合折彎機
E21扭軸折彎機
E21扭軸折彎機
TP10S扭軸折彎機
TP10S扭軸折彎機
折彎中心
折彎中心
生產能力
我們的機加工車間配備了各種尺寸的刨床、磨床、銑床、數控加工中心和用於模具測試的折彎機。年產能約為30萬套模具(每套835毫米)。標準模具交貨時間為1周,定制模具交貨時間為25天左右。
  • CNC加工中心CNC加工中心
  • 數控銑床數控銑床
  • 磨床磨床
  • 折彎機測試折彎機測試
馬鞍山市方威精密刃模有限公司
金屬加工機械
  • 折彎機
  • 折彎中心
  • 鐳射切割機
  • 卷圓機
  • 擺式剪板機
折彎機模具
  • 折彎機模具
  • 精密的折彎機模具
  • 剪板機刀片
  • 定制模具
聯繫我們
馬鞍山市博望區博望鎮大和工業園A-8#
info@masfw.net
+86-18655538201
+86-18955525842
Supported by ETW International Inc. USA